华泰证券宁波(华泰证券宁波柳汀街营业部)
心怀天下,志在华泰我向往精彩的金融世界我热爱创新乐于挑战我满怀激情热切勤奋华泰就是我梦想的起点!华泰证券股份有限公。

华泰证券成立于1991年,是一家涵盖证券基金期货直接投资境外业务等全业务领域的大型综合金融集团,也是国内唯一一家A。
华泰证券股份有限公司,一家国内领先的科技驱动型证券集团,中国证监会首批批准的综合类券商,是最早获得创新试点资格的券商之。
热点华泰证券将登陆伦交所,首家A+H+G券商首家A股公司华泰证券将登陆伦交所,沪伦通西向业务迈出实质性一步华泰证券公。
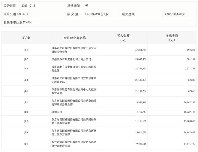
市场有风险,投资需谨慎。

人民银行总行批复浙江稠州银行和宁波通商银行2家机构在银行间债券市场发行全国首批转股型无固定期限资本债券近日,华泰证券。
颁课为您带来优质的校招岗位~ 华泰证券 来自官网 颁课整理投递时可备注来自“颁课”公众号往期推荐金融校招九坤投。
版权声明:如无特殊标注,文章均为本站原创,转载时请以链接形式注明文章出处。









评论